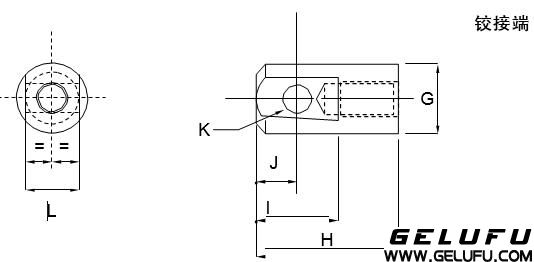
E蜗轮丝杆升降机配件及其图纸
Www.Gelufu.Com 格鲁夫机械 2015-10-05 17:38:35
点击:
3. 配件


|
载荷(kN) |
5 |
10 |
25 |
50 |
100 |
200 |
300 |
500 |
1000 |
|
øA |
65 |
80 |
100 |
150 |
150 |
170 |
240 |
280 |
380 |
|
B (PCD) |
45 |
55 |
70 |
85 |
110 |
120 |
170 |
215 |
290 |
|
øC |
25 |
30 |
40 |
50 |
65 |
75 |
110 |
150 |
200 |
|
D |
21 |
24 |
31.5 |
36.5 |
42 |
58 |
67 |
92 |
127 |
|
E |
8 |
10 |
12 |
16 |
20 |
25 |
30 |
35 |
75 |
|
øF |
9 |
11 |
13.5 |
18 |
22 |
26 |
33 |
33 |
51 |
|
øG |
25 |
30 |
40 |
50 |
65 |
75 |
110 |
150 |
200 |
|
H |
56 |
63 |
79.5 |
91.5 |
120 |
143 |
167 |
217 |
297 |
|
I |
30 |
36 |
46 |
60 |
66 |
80 |
120 |
150 |
210 |
|
J |
15 |
18 |
23 |
30 |
33 |
40 |
60 |
75 |
105 |
|
øK |
10 |
12 |
16 |
20 |
22 |
30 |
45 |
60 |
90 |
|
L |
15 |
20 |
30 |
35 |
40 |
50 |
80 |
110 |
140 |
3.2 耳轴固定装置


|
载荷(kN) |
5 |
10 |
25 |
50 |
100 |
|
A |
114 |
175 |
160 |
200 |
270 |
|
B |
114 |
135 |
120 |
160 |
200 |
|
C |
57 |
67.5 |
60 |
80 |
100 |
|
D |
60 |
80 |
165 |
205 |
225 |
|
E |
- |
- |
135 |
170 |
180 |
|
F |
30 |
40 |
50 |
57.5 |
52.5 |
|
G |
110 |
130 |
110 |
150 |
190 |
|
H |
85 |
100 |
80 |
115 |
145 |
|
øJ (h6) |
15 |
20 |
25 |
35 |
45 |
|
K |
20 |
25 |
30 |
40 |
50 |
|
L |
10 |
12.5 |
15 |
20 |
25 |
|
øM |
50 |
58 |
72 |
95 |
130 |
|
N |
M8 (2) |
M10 (2) |
M12 (4) |
M16 (4) |
M20 (4) |
|
重量(kg) |
1.24 |
2.27 |
3.27 |
8.9 |
15.57 |
使用螺栓将耳轴固定在螺旋升降机底板上. 可根据要求提供其它尺寸的产品.
3.3 电动机适配器

25kN至300kN螺旋升降机配备标准适配器。 标准配置为IEC基座。 可根据要求提供NEMA基座。
3.4 防尘罩

3.5 公制双头铰接端螺旋升降机

提交留言