E滚珠丝杆升降机安装尺寸图
2.2滚珠丝杆螺旋升降机尺寸
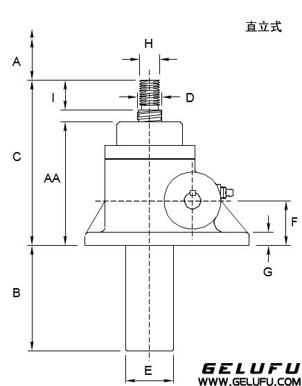
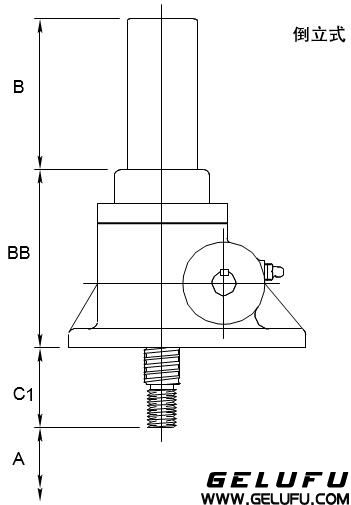
2.2.1 丝杆运动式
正视图


平面图


2.2.2 螺旋升降机型号
|
载荷 |
直立式 |
E28501 |
E3802 |
E38021 |
E3805 |
E38051 |
E3810 |
E38101 |
E3820 |
E38201 |
E3830 |
E3860 |
|
倒立式 |
E28500 |
E3801 |
E38011 |
E3804 |
E38041 |
E3809 |
E38091 |
E3819 |
E38191 |
E3829 |
E3859 |
|
|
承重 |
10 |
25 |
50 |
100 |
200 |
300 |
500 |
|||||
|
A |
视要求确定冲程 |
|
||||||||||
|
B |
A + 35 |
A + 10 |
A + 10 |
A + 15 |
A + 10 |
A + 30 |
视要求 |
|||||
|
B1 |
A + 35 |
A + 25 |
A + 25 |
A + 25 |
A + 25 |
A + 25 |
||||||
|
C |
150 |
175 |
202 |
218 |
269 |
252 |
275 |
338 |
386 |
445 |
||
|
C1 |
45 |
55 |
65 |
80 |
95 |
115 |
||||||
|
øD |
20 |
25 |
40 |
50 |
63 |
80 |
||||||
|
øE |
42 |
48.3 |
60.3 |
73 |
89 |
115 |
||||||
|
F |
40 ± 0.13 |
45 ± 0.13 |
60 ± 0.13 |
60 ± 0.13 |
85 ± 0.13 |
105 ± 0.13 |
||||||
|
G |
9 |
13 |
14 |
16 |
20 |
30 |
||||||
|
H |
M12 x 1.75 |
M20 x 2.5 |
M24 x 3 |
M36 x 4 |
M48 x 5 |
M72 x 4 |
||||||
|
I |
24 |
30 |
35 |
40 |
55 |
65 |
||||||
|
J |
150 |
180 |
230 |
280 |
300 |
380 |
||||||
|
K |
75 |
90 |
115 |
140 |
150 |
190 |
||||||
|
øL |
14 h8 |
16 h8 |
19 h8 |
25 h8 |
28 h8 |
35 h8 |
||||||
|
M |
5 x 5 x 25 |
5 x 5 x 25 |
6 x 6 x 32 |
8 x 7 x 40 |
8 x 7 x 40 |
10 x 8 x 50 |
||||||
|
øN |
11 |
13.5 |
18 |
22 |
26 |
39 |
||||||
|
O |
130 |
110 |
150 |
190 |
210 |
260 |
||||||
|
P |
65 |
55 |
75 |
95 |
105 |
130 |
||||||
|
Q |
100 |
80 |
115 |
145 |
150 |
190 |
||||||
|
R |
50 |
40 |
57.5 |
72.5 |
75 |
95 |
||||||
|
S |
- |
165 |
205 |
225 |
275 |
365 |
||||||
|
T |
- |
65 |
75 |
75 |
105 |
140 |
||||||
|
U |
- |
135 |
170 |
180 |
215 |
295 |
||||||
|
V |
- |
50 |
57.5 |
52.5 |
75 |
105 |
||||||
|
W |
31.75 + 0.076 - 0.000 |
43.26 + 0.025 - 0.025 |
55.58 + 0.050 - 0.000 |
66 + 0.060 - 0.000 |
66 + 0.70 - 0.000 |
95.25 + 0.130 - 0.000 |
||||||
|
X |
36 |
27.5 |
35 |
44 |
44 |
56 |
||||||
|
AA |
114 |
134 |
161 |
172 |
223 |
197 |
220 |
268 |
316 |
360 |
||
|
BB |
114 |
134 |
161 |
172 |
223 |
197 |
220 |
268 |
316 |
360 |
||
备注 所有尺寸单位均为mm。
螺纹端和法兰端的升降机,直立式和倒立式收缩尺寸相同。 螺母运动式升降机(参考 2.3)的外壳尺寸与丝杆运动式的升降机相同。 尺寸如有变更,恕不另行通知。
2.3 螺母运动式滚珠丝杆螺旋升降机
2.3.1 直立式

|
型号 |
UE28502 |
UE3803 |
UE38031 |
UE3806 |
UE38061 |
UE3811 |
UE38111 |
UE3821 |
UE38211 |
UE3831 |
UE3861 |
|
载荷 (kN) |
10 |
25 |
50 |
100 |
200 |
300 |
500 |
||||
|
A |
AA + 74 |
AA + 85 |
AA + 110 |
AA + 110 |
AA + 160 |
AA + 135 |
AA + 160 |
AA + 176 |
AA + 190 |
AA + 240 |
视要求 |
|
B |
16 |
25 |
30 |
50 |
65 |
85 |
|||||
|
C |
90 |
103.5 |
138 |
146.5 |
195 |
235 |
|||||
|
D |
0 |
0 |
0 |
28 |
24 |
40 |
|||||
|
øE |
12 |
20 |
25 |
35 |
45 |
75 |
|||||
|
F |
44 |
65 |
96 |
90 |
136 |
108 |
132 |
150.5 |
160 |
200 |
|
|
G |
12 |
15 |
20 |
25 |
35 |
48 |
|||||
|
øH |
55 |
90 |
120 |
155 |
185 |
230 |
|||||
|
I |
6 x ø7 |
4 x ø13.5 |
4 x ø18 |
4 x ø22 |
4 x ø26 |
4 x ø26 |
|||||
|
øJ |
32 |
40 |
47 |
60 |
70 |
75 |
85 |
95 |
120 |
||
|
øK (PCD) |
45 |
65 |
90 |
115 |
135 |
175 |
|||||
2.3.1 倒立式

|
型号 |
DE28502 |
DE3803 |
DE38031 |
DE3806 |
DE38061 |
DE3811 |
DE38111 |
DE3821 |
DE38211 |
DE3831 |
DE3861 |
|
载荷 (kN) |
10 |
25 |
50 |
100 |
200 |
300 |
500 |
||||
|
A |
AA + 74 |
AA + 85 |
AA + 110 |
AA + 110 |
AA + 160 |
AA + 135 |
AA + 160 |
AA + 176 |
AA + 190 |
AA + 240 |
视要求 |
|
B |
16 |
25 |
30 |
50 |
65 |
85 |
|||||
|
C |
90 |
95.5 |
122 |
130.5 |
179 |
235 |
|||||
|
D |
10 |
13.5 |
18 |
26.5 |
25 |
25 |
|||||
|
E |
90 |
95.5 |
122 |
130.5 |
203 |
275 |
|||||
|
øF |
12 |
20 |
25 |
35 |
45 |
75 |
|||||
|
G |
44 |
65 |
96 |
90 |
136 |
108 |
132 |
150.5 |
160 |
200 |
|
|
H |
12 |
15 |
20 |
25 |
35 |
48 |
|||||
|
øI |
55 |
90 |
120 |
155 |
185 |
230 |
|||||
|
J |
6 x ø7 |
6 x ø13.5 |
6 x ø18 |
6 x ø22 |
6 x ø26 |
6 x ø26 |
|||||
|
øK |
32 |
40 |
47 |
60 |
70 |
75 |
85 |
95 |
120 |
||
|
øL (PCD) |
45 |
65 |
90 |
115 |
135 |
175 |
|||||
PCD = 截距圆直径